蓝色智慧,科技之源
Blue wisdom,
the source of science and technology
诚心 务实 团结
积极进取
Serving the life of science and
technology civilization.

蓝源项目管理(PM)系统概述

蓝源软件2020-02-14

项目全生命周期管理

管理理念

蓝源科技经过长期项目的积累,总结出了项目化管理的“三化”理念:

项目全生命周期管理

构建项目从立项--执行—完结的全生命周期管理,配合实际业务的需要自定义多个功能模块,如项目主线的管理、立项过程、计划进度、质量管理、合同管理、成本管理、预算费控、项目绩效、项目流程、文档等:

系统框架

系统设计思路为中台+平台+多应用:

系统基于钉钉、企微或office365等互联网平台,建立统一的APP与PC端门户:

系统基于可视化配置中台,低代码方式构建、开发个性化的项目管理功能应用:

系统部分功能展示

以项目为主线关联项目相关任务、流程、数据与文档:
1、关联客户管理、合同管理、计划任务等功能模块;
2、涉及立项审批、变更、完结、合同审批、付款等审批流程;
3、关联预算、合同金额、应收应付、开票信息等数据;
4、合同附件、项目文档、会议资料等附件汇集

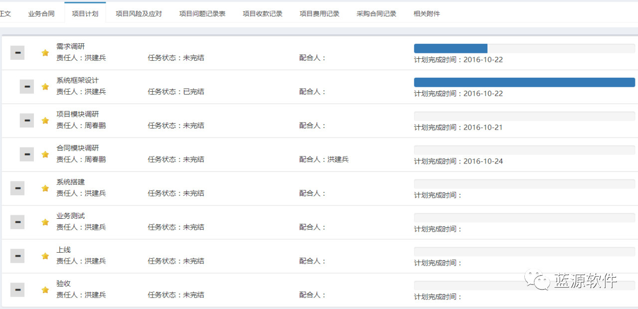
立项成功后自动生成项目阶段或主计划,项目负责人可层层分级任务。项目风险与问题最终都会在项目计划里面体现。

业务合同审批通过后生成合同台账,合同执行以项目阶段与计划体现;合同收款需提报收款开票流程,此流程可关联项目、合同、历史收款、客户开票信息等数据。

采购(委外)合同与业务合同类似,前者是支出,后者是收入。最终统计生成此项目的财务收入、支出、成本等信息。

立项时会根据项目具体情况设定相关预算,实际通过费用申请与报销消耗预算。

系统结合项目评价或绩效。

最终按照需求整理出相关的报表,如进度报表、人力资源使用报表、财务报表等。

移动办公与大数据

(移动端数据可关联与穿透)

其他新闻

工程管理ERP/OA系统

蓝源全面资产管理(B-EAM)系统

舟山港试点单位开启“合同全生命周期”管理模式

GXG开启供应商互联模式

蓝源执行力平台(E-Resource OKR)系统概述